Tischtennis- und Tischfussballtische
Tischtennistische Beton
Beton-Tischtennistische haben sich bereits auf über 2000 Outdoor-Anlagen bewährt!
Unsere langjährigen Erfahrungen zeigen, dass unsere massiven Beton-Tischtennistische gegenüber anderen Produkten aus Kunststoff, Acryl- und Polymerbeton eine wesentlich längere Lebensdauer haben.
Ausführung
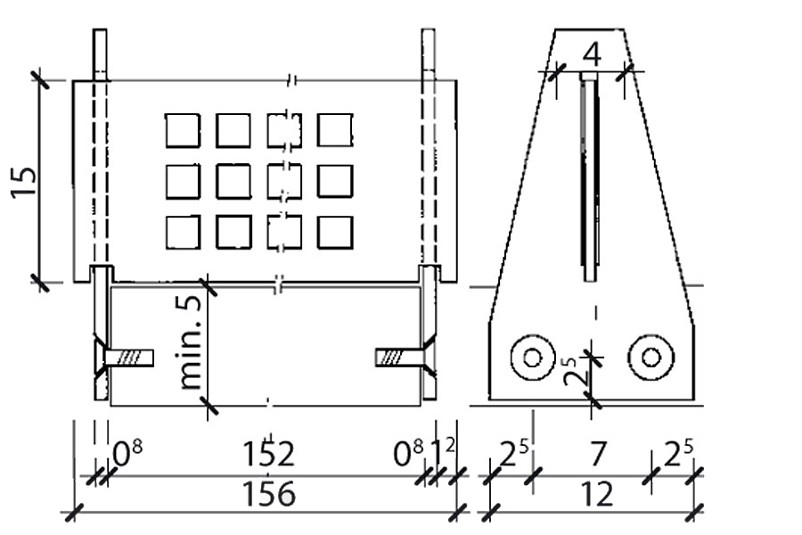
Tischplatte und Sockel aus Beton armiert, schalungsglatt und imprägniert, inkl. 4 Stellschrauben für Niveauausgleich und Gewindehülsen für Netz Typ 3.
Konstruktion
Tischplatte und Sockel werden in einem Element hergestellt.
Masse (LxBxH) und Gewicht
274 x 152.5 x 73 cm, ca. 900 kg.
Stellfüsse Durchmesser 10 cm.
Zur Beachtung
Tischtennistische Beton müssen auf gut befestigtem Untergrund platziert werden.
Lieferung und Montage
Die Lieferung erfolgt per Lastwagen mit Kranvorrichtung. Allfällige Transportprobleme von der Abladestelle bis zur Verwendungsstelle lösen wir mit unserem Transportwagen (Zufahrtsbreite min. 180 cm, befestigter Untergrund, Mithilfe bauseits: mindestens 2 Personen). Diese Dienstleistungen sind im Transportpreis inbegriffen. Im Bereich der vier Auflagepunkte (siehe Massskizze) muss der Boden befestigt sein. Die exakte Höheneinstellung (maximal 5 cm) erfolgt mit den in den Sockeln werkseitig eingelassenen Stellschrauben. Sofern der Tischtennistisch auf einen bituminösen Belag aufgestellt wird, können an den 4 Auflagepunkten z.B. Metallplatten unterlegt werden; ansonsten besteht die Gefahr, dass bei Sonneneinstrahlung die Stellfüsse einsinken. Montagearbeiten bauseits sind nicht erforderlich.
Platzbedarf
Mindestplatzbedarf Tischtennistisch für den Plausch- und Freizeitsport: 7.00 x 3.50 m. Bodenbelag (Empfehlung): Ballspielplatten EUROFLEX
Tischtennistisch Typ 1
betongrau
Beton, Oberfläche schalungsglatt,
ohne Spielfeldmarkierung, ohne Netz,
Gewicht 900 kg.
Art.-Nr. 06.001
Tischtennistisch Typ 1R
betongrau, Ecken abgerundet
Beton, Oberfläche schalungsglatt,
ohne Spielfeldmarkierung, ohne Netz,
Ecken abgerundet, Radius 6,8 cm,
Gewicht 900 kg.
Art.-Nr. 06.001R
Tischtennistisch Typ 1A
betongrau
Beton, Oberfläche schalungsglatt,
mit schwarzer, aufgemalter Spielfeldmarkierung, ohne Netz,
Gewicht 900 kg.
Art.-Nr. 06.008
Tischtennistisch Typ 1AR
betongrau, Ecken abgerundet
Beton, Oberfläche schalungsglatt,
mit schwarzer, aufgemalter Spielfeldmarkierung, ohne Netz,
Ecken abgerundet, Radius 6,8 cm,
Gewicht 900 kg.
Art.-Nr. 06.008R
Tischtennistisch Typ 2
grün
Beton, Oberfläche Kunstharzplatte,
mit Spielfeldmarkierung weiss, ohne Netz,
Gewicht 900 kg.
Art.-Nr. 06.006
Tischtennistisch Typ 2R
grün, Ecken abgerundet
Beton, Oberfläche Kunstharzplatte,
mit Spielfeldmarkierung weiss, ohne Netz,
Ecken abgerundet, Radius 6,8 cm,
Gewicht 900 kg.
Art.-Nr. 06.006R
Tischtennistisch Typ 3
blau
Beton, Oberfläche Kunstharzplatte,
mit Spielfeldmarkierung weiss, ohne Netz,
Gewicht 900 kg.
Art.-Nr. 06.007
Tischtennistisch Typ 3R
blau, Ecken abgerundet
Beton, Oberfläche Kunstharzplatte,
mit Spielfeldmarkierung weiss, ohne Netz,
Ecke abgerundet, Radius 6,8 cm,
Gewicht 900 kg.
Art.-Nr. 06.007R
Tischtennistisch Typ 4
anthrazit
Beton, Oberfläche Kunstharzplatte,
mit Spielfeldmarkierung weiss, ohne Netz,
Gewicht 900 kg.
Art.-Nr. 06.009
Tischtennistisch Typ 4R
anthrazit, Ecken abgerundet
Beton, Oberfläche Kunstharzplatte,
mit Spielfeldmarkierung weiss, ohne Netz,
Ecke abgerundet, Radius 6,8 cm,
Gewicht 900 kg.
Art.-Nr. 06.009R
Tischtennistisch Typ 5
bemalt
Beton, Oberfläche schalungsglatt,
Tischplatte bemalt in RAL/NCS-Farbton nach Kundenwunsch,
inkl. Mittellinie, ohne Netz,
Gewicht 900 kg.
Art.-Nr. 06.010
Tischtennistisch Typ 5R
bemalt, Ecken abgerundet
Beton, Oberfläche schalungsglatt,
Tischplatte bemalt in RAL/NCS-Farbton nach Kundenwunsch,
inkl. Mittellinie, ohne Netz,
Ecke abgerundet, Radius 6,8 cm,
Gewicht 900 kg.
Art.-Nr. 06.010R
Tischtennis-Netze
Metall-Netz Typ 1
Klemmbereich bis 90 mm
Promatverzinkt, lackiert, zum Anschrauben,
Gewicht 5.8 kg.
weissaluminium (RAL 9006)
Art.-Nr. 06.002a
grün (RAL 6018)
Art.-Nr. 06.002
Metall-Netz Typ 2
Klemmbereich bis 58 mm
Nicht geeignet für silisport-Tischtennistische aus Beton!
Promatverzinkt, lackiert, zum Anschrauben,
Gewicht 5.8 kg.
weissaluminium (RAL 9006)
Art.-Nr. 06.003a
grün (RAL 6018)
Art.-Nr. 06.003
Metall-Netze neu auch in verstärkter Ausführung erhältlich!
















